
30VN沟道MOS管 62N03 PDFN5X6-8L 贴片场效应管 国产MOS管选型
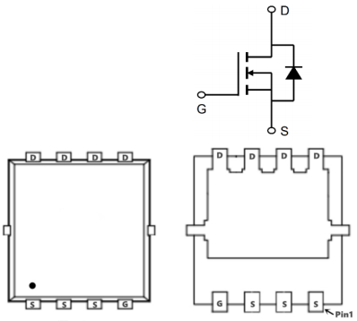
30VN沟道MOS管 62N03的引脚图:

30VN沟道MOS管 62N03的极限值:
(如无特殊说明,TC=25℃)
| 符号 | 参数 | 数值 | 单位 |
| VDS | 漏极-源极电压 | 30 | V |
| VGS | 栅极-源极电压 | ±20 | |
| ID | 漏极电流-连续(TC=25℃) | 62 | A |
| 漏极电流-连续(TC=100℃) | 33 | ||
| IDM | 漏极电流-脉冲 | 208 | |
| EAS | 单脉冲雪崩能量 | 33.8 | mJ |
| IAS | 雪崩电流 | 20 | A |
| PD | 总耗散功率 | 30.5 | W |
| TSTG | 存储温度 | -55~150 | ℃ |
| TJ | 工作结温 | -55~150 | |
| RθJA | 结到环境的热阻 | 25 | ℃/W |
| RθJC | 结到管壳的热阻 | 5.2 |
30VN沟道MOS管 62N03的电特性:
(如无特殊说明,Tj=25℃)
| 符号 | 参数 | MIN值 | TYP值 | MAX值 | 单位 |
| BVDSS | 漏极-源极击穿电压 | 30 | V | ||
| RDS(ON) | 静态漏源导通电阻 VGS=10V,ID=20A | 5.5 | 6.8 | mΩ | |
| 静态漏源导通电阻 VGS=4.5V,ID=10A | 7.5 | 10 | |||
| VGS(th) | 栅极开启电压 | 1.2 | 1.6 | 2 | V |
| IGSS | 栅极漏电流 | ±100 | nA | ||
| Qg | 栅极电荷 | 10.3 | nC | ||
| Qgs | 栅源电荷密度 | 1.8 | |||
| Qgd | 栅漏电荷密度 | 1.7 | |||
| Ciss | 输入电容 | 625 | pF | ||
| Coss | 输出电容 | 240 | |||
| Crss | 反向传输电容 | 25 | |||
| td(on) | 开启延迟时间 | 4.4 | ns | ||
| tr | 开启上升时间 | 3.6 | |||
| td(off) | 关断延迟时间 | 12.2 | |||
| tf | 开启下降时间 | 2.7 |